TC/RT带温度转换器带显示热电偶(热电阻)

一、概述
带温度转换器带显示热电偶(热电阻)不仅其性质,特点与用途和普通热电偶(热电阻)一样,而且可以现场指示温度并将现场信号转换成 4 ~ 20mA · DC 标准信号,便于远距离输和计算机监控管理。
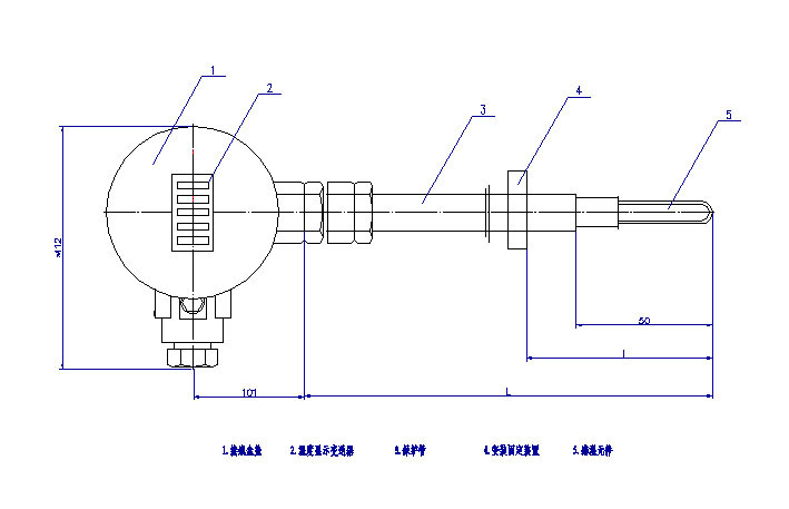
二、基本结构

三、产品型号说明

注: 1. 安装固定装置代号: W ——无固定装置 F ——固定螺纹
G ——固定法兰 H ——活动法兰
2. 热电偶分度号代号: K :镍铬—镍硅 E :镍铬—铜镍 J :铁—铜镍
T :铜—铜镍 N :镍铬硅—镍硅 Pt100 —铂热电阻
四、主要技术指标
产品型号 |
使用温度( ℃ ) |
安装固定装置 |
保护管 |
|||
形式 |
公称压力 |
管径 |
材料 |
长度系列 |
||
TC62W-K-S |
0 ~ 1000 |
无固定装置 |
常压 |
Ф16 或 Ф12 |
G30 |
[L (总长)× l (置深)] 300 × 150 |
TC62W-E-S |
0 ~ 800 |
1Cr18Ni9Ti |
||||
TC62W-J-S |
0 ~ 700 |
|||||
TC62W-T-S |
-100 ~ +300 |
|||||
TC62W-N-S |
0 ~ 1000 |
G30 |
||||
RT62W-Pt100-S |
-200 ~ +500 |
1Cr18Ni9Ti |
||||
TC62H-K-S |
0 ~ 1000 |
活动法兰装置 |
常压 |
Ф16 或 Ф12 |
G30 |
|
TC62H-E-S |
0 ~ 800 |
1Cr18Ni9Ti |
||||
TC62H-J-S |
0 ~ 700 |
|||||
TC62H-T-S |
-100 ~ +300 |
|||||
TC62H-N-S |
0 ~ 1000 |
G30 |
||||
RT62H-Pt100-S |
-200 ~ +500 |
1Cr18Ni9Ti |
||||
TC62F-K-S |
0 ~ 1000 |
固定螺纹装置 |
10MPa |
Ф16 或 Ф12 |
G30 |
|
TC62F-E-S |
0 ~ 800 |
1Cr18Ni9Ti |
||||
TC62F-J-S |
0 ~ 700 |
|||||
TC62F-T-S |
-100 ~ +300 |
|||||
TC62F-N-S |
0 ~ 1000 |
G30 |
||||
RT62F-Pt100-S |
-200 ~ +500 |
1Cr18Ni9Ti |
||||
TC62G-K-S |
0 ~ 1000 |
固定法兰装置 |
2.5MPa |
Ф16 或 Ф12 |
G30 |
|
TC62G-E-S |
0 ~ 800 |
1Cr18Ni9Ti |
||||
TC62G-J-S |
0 ~ 700 |
|||||
TC62G-T-S |
-100 ~ +300 |
|||||
TC62G-N-S |
0 ~ 1000 |
G30 |
||||
RT62G-Pt100-S |
-200 ~ +500 |
1Cr18Ni9Ti |
||||
转换器基本误差± 0.5 %,显示器精度等级 0.5 级,允差等级:热电偶为Ⅱ级,热电阻为 B 级。
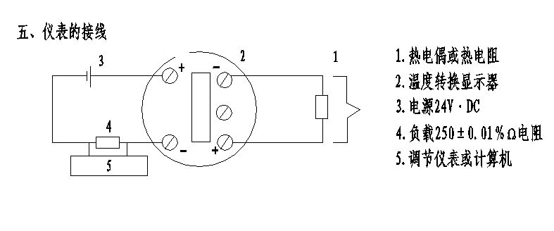
电源客定电压 24V · DC ± 10%, 输出信号 4 ~ 20mA · DC, 负载为 250 Ω为二线制。
环境温度 0 ~ 55 ℃,相对湿度 cm 2 ≤ 86%, 大气压力 86 ~ 106kPa

六、订货及选型
1. 用户根据测量介质的性质、温度、压力、流速、仪表现场的安装情况来选择产品的型号、保护管规格和长度以及固定安装方式,同时按以下规定表明仪表小量程:
热电偶: K 型和 N 型热电偶小量程不小于 400 ℃
E 型和 J 型电偶小量程不小于 300 ℃
T 型热电偶小量程不小于 100 ℃
热电阻:铂热电阻小量程不小于 100 ℃
2. 选型中尚有不清楚的问题或用户特殊需要而与上述产品型号不符,需要专门制造的产品,请注明您的特殊需要来公司(可来函)与我公司经营部联系